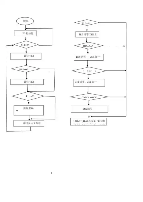
单片机数字钟设计 时间调整与显示程序流程框图

图片尺寸 567x532
上传时间 2026-03-18 04:04:57

图片链接

缩略图
原图
外链

相关图片

单片机流程图

单片机流程图

51单片机电子闹钟程序流程图.pdf 5页

51单片机电子闹钟程序流程图.pdf 5页

51单片机实例讲解七段数码管抢答器程序

51单片机实例讲解七段数码管抢答器程序

单片机程序流程图

单片机程序流程图

51单片机流水灯docx7页

51单片机流水灯docx7页

流程图.jpg

流程图.jpg

0输出状态发生一次反转,实现led闪烁.  流程图

0输出状态发生一次反转,实现led闪烁. 流程图

51单片机控制的双闭环直流pwm调速系统设计文档资料 主控程序流程图如

51单片机控制的双闭环直流pwm调速系统设计文档资料 主控程序流程图如

51单片机设计的交通信号灯流程图

51单片机设计的交通信号灯流程图

流程图

流程图

随机推荐

离别简谱阿杜

离别简谱阿杜

宋佳:银幕之光与情感征途的坎坷之旅

宋佳:银幕之光与情感征途的坎坷之旅

圆脸自来卷适合什么样的短发

圆脸自来卷适合什么样的短发

粉红色郁金香,花瓶 壁纸 - 1680x1050

粉红色郁金香,花瓶 壁纸 - 1680x1050

2021年流行短发发型推荐~(四)气质款 我给大家推荐这款气 - 抖音

2021年流行短发发型推荐~(四)气质款 我给大家推荐这款气 - 抖音

简笔画可爱卡通手绘手指耶表情包gif图

简笔画可爱卡通手绘手指耶表情包gif图

李居丽性感妩媚甜美可爱

李居丽性感妩媚甜美可爱

泛美实木地板领袖系列鲍迪豆

泛美实木地板领袖系列鲍迪豆

林散之的这幅书法捍卫了中国书法的国际地位

林散之的这幅书法捍卫了中国书法的国际地位

关晓彤亮相戛纳电影节惊艳四座,网友:真是不错!

关晓彤亮相戛纳电影节惊艳四座,网友:真是不错!