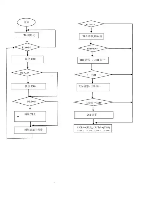
单片机程序流程图

图片尺寸 959x1356
上传时间 2026-03-18 04:04:57

图片链接

缩略图
原图
外链

相关图片

51单片机电子闹钟程序流程图.pdf 5页

51单片机电子闹钟程序流程图.pdf 5页

51单片机实例讲解七段数码管抢答器程序

51单片机实例讲解七段数码管抢答器程序

单片机循迹小车程序流程图

单片机循迹小车程序流程图

51单片机流水灯docx7页

51单片机流水灯docx7页

单片机数字钟设计 时间调整与显示程序流程框图

单片机数字钟设计 时间调整与显示程序流程框图

51单片机控制的双闭环直流pwm调速系统设计文档资料 主控程序流程图如

51单片机控制的双闭环直流pwm调速系统设计文档资料 主控程序流程图如

51单片机设计的交通信号灯流程图

51单片机设计的交通信号灯流程图

图2-1 软件流程图

图2-1 软件流程图

完整word版51单片机流水灯

完整word版51单片机流水灯

单片机课程设计程序流程图ytu-ii

单片机课程设计程序流程图ytu-ii

随机推荐

原创原创50岁朱茵为老公庆生送惊喜搂着黄贯中肩膀大秀恩爱

原创原创50岁朱茵为老公庆生送惊喜搂着黄贯中肩膀大秀恩爱

又一对明星夫妻离婚了这次是梅婷(组图)

又一对明星夫妻离婚了这次是梅婷(组图)

竹联帮地堂堂主,"钟馗"李宗奎,扛起竹联帮半壁江山

竹联帮地堂堂主,"钟馗"李宗奎,扛起竹联帮半壁江山

茶饮夏日饮品酸梅汤原料包详情页描述

茶饮夏日饮品酸梅汤原料包详情页描述

想你已成习惯每天都想念你

想你已成习惯每天都想念你

中班剪贴画——秋天的果实

中班剪贴画——秋天的果实

钻石香烟价格表大全2024钻石香烟多少钱一盒

钻石香烟价格表大全2024钻石香烟多少钱一盒

女童发育期小背心 9-12-13-15岁初中生夏学生儿童女吊带女孩内衣 白色

女童发育期小背心 9-12-13-15岁初中生夏学生儿童女吊带女孩内衣 白色

最最最可爱的童

最最最可爱的童

怪兽大百科:第五十五期#奥特曼 #奈克瑟斯奥特曼 #异生兽  - 抖音

怪兽大百科:第五十五期#奥特曼 #奈克瑟斯奥特曼 #异生兽 - 抖音