早上好表情大全早上好表情图片大全

图片尺寸 220x220
上传时间 2026-03-17 01:15:04

图片链接

缩略图
原图
外链

相关图片

你好美 - 斗图表情包 - 金馆长表情库 - 真正的斗图网站 - pkdoutu.

你好美 - 斗图表情包 - 金馆长表情库 - 真正的斗图网站 - pkdoutu.

8月13日最漂亮早上好动态表情图片大全,早晨好动图美图大全

8月13日最漂亮早上好动态表情图片大全,早晨好动图美图大全

好姑娘真漂亮表情包

好姑娘真漂亮表情包

9月11日最漂亮早上好动态表情图片大全早晨好动图美图大全

9月11日最漂亮早上好动态表情图片大全早晨好动图美图大全

12月5日最漂亮早上好动态表情图片大全,早晨好动图美图大全

12月5日最漂亮早上好动态表情图片大全,早晨好动图美图大全

1月22日微信群发早上好问候语朋友圈动态早上好表情图片大全

1月22日微信群发早上好问候语朋友圈动态早上好表情图片大全

最漂亮早上好动态表情图片大全早晨好动图美图大全

最漂亮早上好动态表情图片大全早晨好动图美图大全

1月28日最漂亮早上好动态表情图片大全早晨好美图大全

1月28日最漂亮早上好动态表情图片大全早晨好美图大全

12月22日最漂亮早上好动态表情图片大全

12月22日最漂亮早上好动态表情图片大全

12月1日最漂亮早上好动态表情图片大全早晨好动图美图大全

12月1日最漂亮早上好动态表情图片大全早晨好动图美图大全

随机推荐

乱石岗大瀑布动态图:瀑布

乱石岗大瀑布动态图:瀑布

骨折复位,椎板开窗减压,骨水泥钉棒系统内固定术

骨折复位,椎板开窗减压,骨水泥钉棒系统内固定术

走路,站立时脚容易受力过大,可能会诱发韧带炎症及足底筋膜炎

走路,站立时脚容易受力过大,可能会诱发韧带炎症及足底筋膜炎

尽管刘涛经常公开表明自己的体重是120斤,这是娱乐圈许多女明星不敢企

尽管刘涛经常公开表明自己的体重是120斤,这是娱乐圈许多女明星不敢企

人生格言语录

人生格言语录

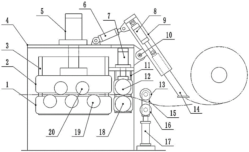
带开卷铲的校平机的制作方法

带开卷铲的校平机的制作方法

手写  #我的日常  #每日练字打卡  #硬笔书法  #楷书  #修心  #写字

手写 #我的日常 #每日练字打卡 #硬笔书法 #楷书 #修心 #写字

老头头像

老头头像

推荐高分综艺中国情书七夕勇敢表达爱

推荐高分综艺中国情书七夕勇敢表达爱

壁纸 | 粉色系 新年锁屏壁纸

壁纸 | 粉色系 新年锁屏壁纸