景观设计素材cad平面图公园规划广场道路

图片尺寸 900x1199
上传时间 2026-03-17 12:28:51

图片链接

缩略图
原图
外链

相关图片

道路平面图

道路平面图

06道路平面图-4.jpg

06道路平面图-4.jpg

道路平面设计图

道路平面设计图

标准市内道路图纸

标准市内道路图纸

道路平面图.png

道路平面图.png

道路平面图2

道路平面图2

某市市政沥青混凝土道路道路平面图

某市市政沥青混凝土道路道路平面图

道路平面图.png

道路平面图.png

某市道路规划平面图

某市道路规划平面图

城市道路施工总平面图

城市道路施工总平面图

随机推荐

苏打绿馨仪生子保平安,整整折腾24小时,简直累坏了

苏打绿馨仪生子保平安,整整折腾24小时,简直累坏了

天使大人——椎名真昼,这真的是完美恋人啊[期待]twi:はねこと#二次元

天使大人——椎名真昼,这真的是完美恋人啊[期待]twi:はねこと#二次元

周杰伦七里香(音乐cd)

周杰伦七里香(音乐cd)

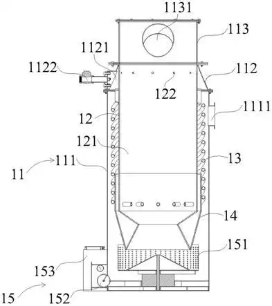
下吸式生物颗粒气化炉的制作方法

下吸式生物颗粒气化炉的制作方法

被判无期的犯人在监狱老了后结局会怎样国家会养老吗

被判无期的犯人在监狱老了后结局会怎样国家会养老吗

微信晴天风景头像_微信头像图片大全

微信晴天风景头像_微信头像图片大全

立体小碎盖男士发型参考增加蓬松度立体感

立体小碎盖男士发型参考增加蓬松度立体感

贵烟看备注包邮

贵烟看备注包邮

这四个唱此生过半你支持哪个奥特曼动漫学生党

这四个唱此生过半你支持哪个奥特曼动漫学生党

修秽迹止雷法所用电闪雷鸣特效动态图2

修秽迹止雷法所用电闪雷鸣特效动态图2