首页 / nervecell / 图片详情

active nerve cell or neurons

图片尺寸 400x320
上传时间 2026-03-17 04:16:37
关键词 nervecell

图片链接

缩略图
原图
外链

相关图片

3d nerve cell anatomy in details

3d nerve cell anatomy in details

3d nerve cell

3d nerve cell

nerve-cell-4

nerve-cell-4

nervecellcomputerartworkofanervecell图片

nervecellcomputerartworkofanervecell图片

nerve cell c4d

nerve cell c4d

3d rendered illustration of a nerve cell

3d rendered illustration of a nerve cell

a computerized close-up of an active nerve cell or neurons

a computerized close-up of an active nerve cell or neurons

nerve cell or neurons

nerve cell or neurons

神经元又叫神经细胞(nnervecell),是神经系统结构和功能的基本单位

神经元又叫神经细胞(nnervecell),是神经系统结构和功能的基本单位

nerve cell

nerve cell

随机推荐

原神皇女90级留念

原神皇女90级留念

一般男人的资料

一般男人的资料

广州4个月银虎斑金吉拉

广州4个月银虎斑金吉拉

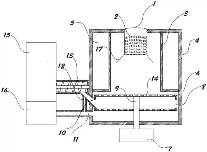
一种生物质燃料充分燃烧炉-爱企查

一种生物质燃料充分燃烧炉-爱企查

线性程式化狮子.黑白图形.

线性程式化狮子.黑白图形.

清新利落的短发,凸显你的优雅气质,瞬间减龄好几岁,简直是时尚 - 抖音

清新利落的短发,凸显你的优雅气质,瞬间减龄好几岁,简直是时尚 - 抖音

4k超高清美女头像让世界看到最好的你

4k超高清美女头像让世界看到最好的你

炎亚纶

炎亚纶

幼儿急疹

幼儿急疹

应采儿集齐了9个陈小春:请陈小春停止代言坑人的游戏!

应采儿集齐了9个陈小春:请陈小春停止代言坑人的游戏!