被妈妈夸了的客厅柜72

图片尺寸 1080x1439
上传时间 2026-03-18 05:57:35

图片链接

缩略图
原图
外链

相关图片

厅柜鞋柜简约闪电客现代客厅进玄关柜衣帽柜换鞋凳组合定制 10门2抽加

厅柜鞋柜简约闪电客现代客厅进玄关柜衣帽柜换鞋凳组合定制 10门2抽加

客厅电视柜如何摆放客厅电视柜效果图

客厅电视柜如何摆放客厅电视柜效果图

客厅电视柜茶几组合套装简约现代小户型黑橡木胡桃色地柜厅柜3米

客厅电视柜茶几组合套装简约现代小户型黑橡木胡桃色地柜厅柜3米

定制电视柜不仅是客厅的颜值担当,功能性也是不能少的

定制电视柜不仅是客厅的颜值担当,功能性也是不能少的

混搭风三居客厅储物柜设计图客厅窗帘潮流混搭客厅设计图片赏析

混搭风三居客厅储物柜设计图客厅窗帘潮流混搭客厅设计图片赏析

跨境货源北欧实木电视柜简约胡桃木家具客厅储物柜视听柜一件代发

跨境货源北欧实木电视柜简约胡桃木家具客厅储物柜视听柜一件代发

简约实木客厅家俱,打造生活的艺术之美

简约实木客厅家俱,打造生活的艺术之美

想让客厅更有范吗选择这样的电视柜

想让客厅更有范吗选择这样的电视柜

白色现代三居客厅简约空间开阔效果图欣赏

白色现代三居客厅简约空间开阔效果图欣赏

简约北欧风三居室,客厅沙发背景墙做成一整排收纳柜,真实用!

简约北欧风三居室,客厅沙发背景墙做成一整排收纳柜,真实用!

随机推荐

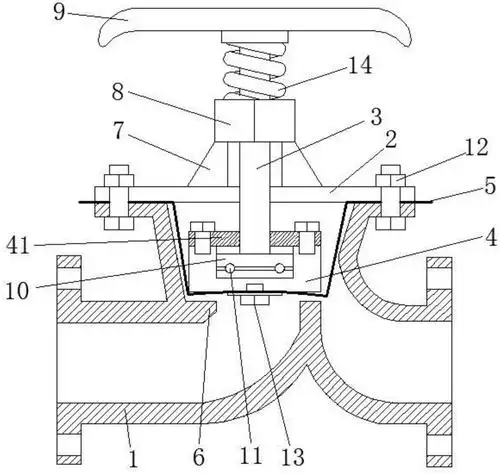
一种抗生素隔膜阀专利_专利申请于2019-12-03_专利查询 - 天眼查

一种抗生素隔膜阀专利_专利申请于2019-12-03_专利查询 - 天眼查

影视演员柯蓝本名钟好好爷爷是新中国第一代上将钟期光

影视演员柯蓝本名钟好好爷爷是新中国第一代上将钟期光

日系蓝配紫

日系蓝配紫

厦门六鳌东南花都等地全程夏令营

厦门六鳌东南花都等地全程夏令营

【老外或华人能让benny代办好两年q2探亲中国签证】来华签证,回国探亲

【老外或华人能让benny代办好两年q2探亲中国签证】来华签证,回国探亲

钱再多有什么用?罕见缺席捐款名单的王健林,也走上潘石屹老路

钱再多有什么用?罕见缺席捐款名单的王健林,也走上潘石屹老路

火山,火,烟,天空,景观,性质壁纸

火山,火,烟,天空,景观,性质壁纸

简约家居室内风光高清电脑壁纸图片大全高清大图预览1920x1080_高清壁

简约家居室内风光高清电脑壁纸图片大全高清大图预览1920x1080_高清壁

文章黑白写真展现魅力 与姚笛出轨门后再度起航

文章黑白写真展现魅力 与姚笛出轨门后再度起航

论"偷感"很重的官号运营  上班日常:  串门偷粉丝偷表情包偷热梗  偷

论"偷感"很重的官号运营 上班日常: 串门偷粉丝偷表情包偷热梗 偷