椰林树影下的金色沙滩唯美高清桌面壁纸-风景壁纸-手机壁纸下载-美桌

图片尺寸 1920x1080
上传时间 2026-03-18 07:20:29

图片链接

缩略图
原图
外链

相关图片

风景,海滩,大海,唯美,天空,风景,晚霞,金色海滩壁纸

风景,海滩,大海,唯美,天空,风景,晚霞,金色海滩壁纸

金色海面.

金色海面.

椰林树影下的金色沙滩唯美高清桌面壁纸高清大图预览1920x1080_风景

椰林树影下的金色沙滩唯美高清桌面壁纸高清大图预览1920x1080_风景

金色沙滩

金色沙滩

金色的沙滩

金色的沙滩

夕阳下的金色沙滩美景高清摄影图片

夕阳下的金色沙滩美景高清摄影图片

椰林树影下的金色沙滩唯美高清桌面壁纸高清大图预览1920x1080_风景

椰林树影下的金色沙滩唯美高清桌面壁纸高清大图预览1920x1080_风景

棕榈树金色海滩海边,锁屏图片,高清手机壁纸,风景-回车桌面

棕榈树金色海滩海边,锁屏图片,高清手机壁纸,风景-回车桌面

金色海滩

金色海滩

海岸金色沙滩高清桌面壁纸高清大图预览1920x1080_风景壁纸下载_美桌

海岸金色沙滩高清桌面壁纸高清大图预览1920x1080_风景壁纸下载_美桌

随机推荐

鼠绘虾|插画|创作习作|素颜一笔淡 - 原创作品 - 站酷 (zcool)

鼠绘虾|插画|创作习作|素颜一笔淡 - 原创作品 - 站酷 (zcool)

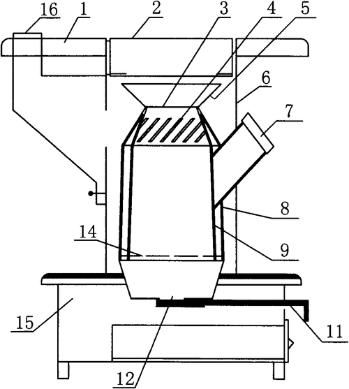
进料口直接与炉芯相连通,炉芯的底部设有进风口和风量调节板,炉芯下部

进料口直接与炉芯相连通,炉芯的底部设有进风口和风量调节板,炉芯下部

圣母玛利亚抱着婴儿耶稣

圣母玛利亚抱着婴儿耶稣

培育了七年的小叶紫檀在春节开花了96

培育了七年的小叶紫檀在春节开花了96

回顾徐锦江的胶带,钟汉良的绅士手,这5位的分寸感让多少男星脸红

回顾徐锦江的胶带,钟汉良的绅士手,这5位的分寸感让多少男星脸红

《三国演义》祝融夫人 孔明:少时即送夫人回去 孟德:今日得见 - 抖音

《三国演义》祝融夫人 孔明:少时即送夫人回去 孟德:今日得见 - 抖音

大昭寺觉沃佛贴金

大昭寺觉沃佛贴金

【爱吉慕(第十五期)】2021年音乐日历3月

【爱吉慕(第十五期)】2021年音乐日历3月

娘要嫁人齐之芳为儿女一生都在嫁人途中为何老了无处安放

娘要嫁人齐之芳为儿女一生都在嫁人途中为何老了无处安放

我膝盖上长了一个包,有啤酒瓶盖那么大,软硬度像蚊子包,不疼也不痒,按

我膝盖上长了一个包,有啤酒瓶盖那么大,软硬度像蚊子包,不疼也不痒,按