首页 / 万福温泉 / 图片详情

张家界万福温泉团体票

图片尺寸 1000x520
上传时间 2026-03-19 15:26:03
关键词 万福温泉

图片链接

缩略图
原图
外链

相关图片

2022年张家界万福温泉门票价格多少钱?

2022年张家界万福温泉门票价格多少钱?

张家界万福温泉.

张家界万福温泉.

张家界万福温泉

张家界万福温泉

张家界万福温泉酒店双人间一晚赠送万福温泉水世界门票2张

张家界万福温泉酒店双人间一晚赠送万福温泉水世界门票2张

万福温泉

万福温泉

张家界市慈利县万福温泉aaaa级度假村,等待你的到来.

张家界市慈利县万福温泉aaaa级度假村,等待你的到来.

锦绣潇湘自驾当红2022年湖南省系列自驾游首发团慈利万福温泉杀年猪约

锦绣潇湘自驾当红2022年湖南省系列自驾游首发团慈利万福温泉杀年猪约

张家界万福温泉冰泉泉水世界是夏天的首选,景色不错,有室外的,有室内

张家界万福温泉冰泉泉水世界是夏天的首选,景色不错,有室外的,有室内

万福温泉鸟巢温泉泡池春节上市了网红打卡新去处快来抢鲜体验

万福温泉鸟巢温泉泡池春节上市了网红打卡新去处快来抢鲜体验

张家界慈利万福温泉票位于万福温泉国际度假酒店至少提前2个小时预订

张家界慈利万福温泉票位于万福温泉国际度假酒店至少提前2个小时预订

随机推荐

广州佛山猫舍78金渐层长毛高地弟弟

广州佛山猫舍78金渐层长毛高地弟弟

beyond—光辉岁月 1991年红磡演唱会,第一场,蓝版,光辉岁月录音,未

beyond—光辉岁月 1991年红磡演唱会,第一场,蓝版,光辉岁月录音,未

极致个性的朋克发型男生发型图片_爱靓网

极致个性的朋克发型男生发型图片_爱靓网

台湾综艺 内地_内地综艺_周励淇参加过内地的综艺节目

台湾综艺 内地_内地综艺_周励淇参加过内地的综艺节目

"宠女狂魔"刘德华一年为女儿花5亿

"宠女狂魔"刘德华一年为女儿花5亿

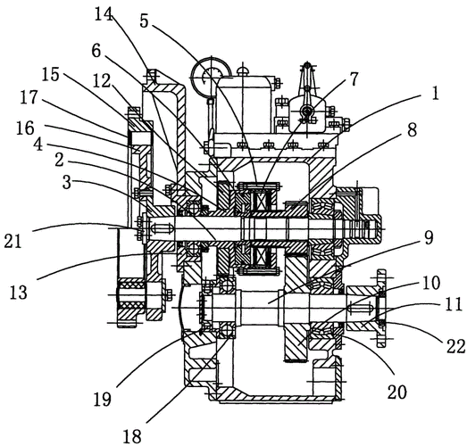
带有离合器机构的船用齿轮箱

带有离合器机构的船用齿轮箱

女士两边不对称短发一长一短回头率超高

女士两边不对称短发一长一短回头率超高

如果有可能,你会养一只什么宠物?

如果有可能,你会养一只什么宠物?

这些花鸟画出自一位日本画家

这些花鸟画出自一位日本画家

飞蛾星人

飞蛾星人