首页 / 20米海钓船 / 图片详情

专为远洋海钓匠造的国产钓鱼艇让您畅享速度与激情的海钓时光

图片尺寸 1080x719
上传时间 2026-03-19 00:19:36

图片链接

缩略图
原图
外链

相关图片

2015/06/02 产品描述: 编号:jl20hdc 此款编号为jl20hdc的20米海钓船

2015/06/02 产品描述: 编号:jl20hdc 此款编号为jl20hdc的20米海钓船

金运游艇jy500远洋海钓船

金运游艇jy500远洋海钓船

深海海钓船

深海海钓船

钓鱼艇海钓船

钓鱼艇海钓船

小港码头野钓价格_青岛美滋滋海钓俱乐部

小港码头野钓价格_青岛美滋滋海钓俱乐部

购买船票有哪些注意事项

购买船票有哪些注意事项

容易就业并且"薪资高"的三大专业,考上不愁就业,毕业全家高兴

容易就业并且"薪资高"的三大专业,考上不愁就业,毕业全家高兴

山东海钓船报价

山东海钓船报价

专事海钓的逍遥钓号渔船.

专事海钓的逍遥钓号渔船.

三亚特惠包艇72尺摩托艇浮潜海钓75

三亚特惠包艇72尺摩托艇浮潜海钓75

随机推荐

女头半边脸

女头半边脸

黑白系高冷霸气头像男个性男生头像高冷真人

黑白系高冷霸气头像男个性男生头像高冷真人

临泽县板桥镇:党旗飘扬在一线 党徽闪耀在基层

临泽县板桥镇:党旗飘扬在一线 党徽闪耀在基层

不愧是泰国顶流 meyou一开口就被温柔捕捉

不愧是泰国顶流 meyou一开口就被温柔捕捉

欧美粉色床前地毯卧室长方形地垫潮牌服装店试衣镜客厅可定制logo

欧美粉色床前地毯卧室长方形地垫潮牌服装店试衣镜客厅可定制logo

套装1-3岁男孩扁鼓民族牛皮儿童鼓手打击乐器

套装1-3岁男孩扁鼓民族牛皮儿童鼓手打击乐器

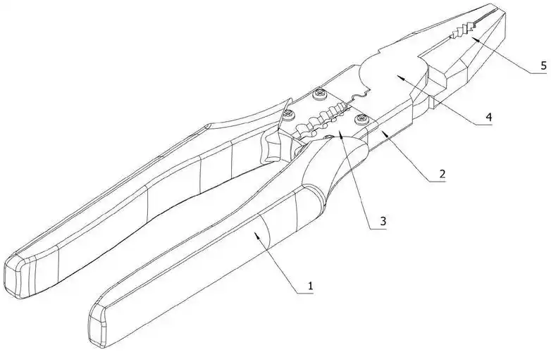
一种多功能的剥线钳-爱企查

一种多功能的剥线钳-爱企查

元宝草图片

元宝草图片

千束暴揍校园四霸【误解向】-每天努力摸鱼的水大叔

千束暴揍校园四霸【误解向】-每天努力摸鱼的水大叔

1,300英雄桐人

1,300英雄桐人