风神-巴巴托斯

图片尺寸 1728x1080
上传时间 2026-03-18 01:48:13

图片链接

缩略图
原图
外链

相关图片

【原神】温迪风神巴巴托斯 歌仙之章 第一幕 若你困于无风之地(故事向

【原神】温迪风神巴巴托斯 歌仙之章 第一幕 若你困于无风之地(故事向

风神巴巴托斯卡点来了

风神巴巴托斯卡点来了

风神巴巴托斯会庇佑每一个风男

风神巴巴托斯会庇佑每一个风男

风神-巴巴托斯

风神-巴巴托斯

【原神/温迪】风神巴巴托斯角色同人曲《吟游之章》

【原神/温迪】风神巴巴托斯角色同人曲《吟游之章》

【原神/混剪】风神巴巴托斯和他守护的蒙德_哔哩哔哩_bilibili

【原神/混剪】风神巴巴托斯和他守护的蒙德_哔哩哔哩_bilibili

啊!啊!敬献风神,巴巴托斯yyds

啊!啊!敬献风神,巴巴托斯yyds

【原神】传说任务07【歌仙之章 第一幕 若你困于无风之地】风神巴

【原神】传说任务07【歌仙之章 第一幕 若你困于无风之地】风神巴

风神巴巴托斯大人剧情介绍 原神巴巴托斯大人在哪

风神巴巴托斯大人剧情介绍 原神巴巴托斯大人在哪

你的下一个巴巴托斯何必是风神

你的下一个巴巴托斯何必是风神

随机推荐

电脑宽屏壁纸(壁纸大全下载免费下载安装)_环球信息网

电脑宽屏壁纸(壁纸大全下载免费下载安装)_环球信息网

花框简笔画手抄报 花框简笔画手抄报画法

花框简笔画手抄报 花框简笔画手抄报画法

本以为和邓伦最配的是李沁,没想到他俩更是配一脸_马思纯_孙怡_网友

本以为和邓伦最配的是李沁,没想到他俩更是配一脸_马思纯_孙怡_网友

毕丽娜自曝拆散费翔姻缘坦言离婚经历毁了儿子一生遗憾难消

毕丽娜自曝拆散费翔姻缘坦言离婚经历毁了儿子一生遗憾难消

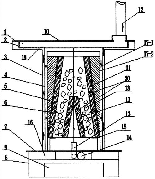
集智节能回风炉

集智节能回风炉

女童草帽儿童渔夫帽宝宝透气沙滩帽薄款男童防晒遮阳帽太阳帽夏天

女童草帽儿童渔夫帽宝宝透气沙滩帽薄款男童防晒遮阳帽太阳帽夏天

水墨画山水风景桌面壁纸

水墨画山水风景桌面壁纸

刘亦菲 #小龙女 #神雕侠侣#王语嫣#神仙姐姐 能配得上龙姑娘的只油貂

刘亦菲 #小龙女 #神雕侠侣#王语嫣#神仙姐姐 能配得上龙姑娘的只油貂

我超喜欢脉动的瓶口

我超喜欢脉动的瓶口

含花待放的少女因为内战的关系骨瘦如柴到像乾尸

含花待放的少女因为内战的关系骨瘦如柴到像乾尸