百万音效补完计划高达uc独角兽ep7aimerstarringchild特制版耳机专用

图片尺寸 3023x1889
上传时间 2026-03-17 04:59:20

图片链接

缩略图
原图
外链

相关图片

独角兽高达

独角兽高达

【机动战士高达uc】蓝色完美独角兽高达那无限的可能性

【机动战士高达uc】蓝色完美独角兽高达那无限的可能性

独角兽高达系列觉醒外加结晶

独角兽高达系列觉醒外加结晶

机动战士高达独角兽全高清壁纸和背景图像

机动战士高达独角兽全高清壁纸和背景图像

wallpaperengine独角兽高达3号机菲尼克斯补全下半身特效过程3倍速

wallpaperengine独角兽高达3号机菲尼克斯补全下半身特效过程3倍速

mobile suit gundam《rx-0独角兽高达》

mobile suit gundam《rx-0独角兽高达》

活动  【高达/独角兽/混剪/mad】战士巴纳吉!

活动 【高达/独角兽/混剪/mad】战士巴纳吉!

【当老师看到这样的作业】独角兽高达

【当老师看到这样的作业】独角兽高达

独角兽高达

独角兽高达

[敢达 争锋对决]新图和独角兽gundam出击.

[敢达 争锋对决]新图和独角兽gundam出击.

随机推荐

评论 分享 微信扫一扫 新浪微博 qq空间 举报收起

评论 分享 微信扫一扫 新浪微博 qq空间 举报收起

花非花白居易古诗原文翻译及鉴赏

花非花白居易古诗原文翻译及鉴赏

书签简笔画图案星空马克笔简笔画月亮星空马克笔星空简笔画临摹马克

书签简笔画图案星空马克笔简笔画月亮星空马克笔星空简笔画临摹马克

lisa

lisa

【地狱客栈丨ai路西法】柠檬树上柠檬果 柠檬树下你和我

【地狱客栈丨ai路西法】柠檬树上柠檬果 柠檬树下你和我

黄山徽州正宗鳜鱼净膛89两新鲜腌制鲑鱼桂鱼淡水鱼类

黄山徽州正宗鳜鱼净膛89两新鲜腌制鲑鱼桂鱼淡水鱼类

韩明伦四字书法作品《养德泽福》

韩明伦四字书法作品《养德泽福》

上一页 下一页 作品名称: 背影  作品描述: 表现了一个留守老人的辛酸

上一页 下一页 作品名称: 背影 作品描述: 表现了一个留守老人的辛酸

东宝大怪兽系列 限定版 红莲哥斯拉(2019)

东宝大怪兽系列 限定版 红莲哥斯拉(2019)

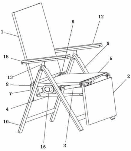
背景技术:伸缩躺椅有了悠久的历史,其具有可折叠,透气等优点.

背景技术:伸缩躺椅有了悠久的历史,其具有可折叠,透气等优点.