首页 / 门框简笔画 / 图片详情

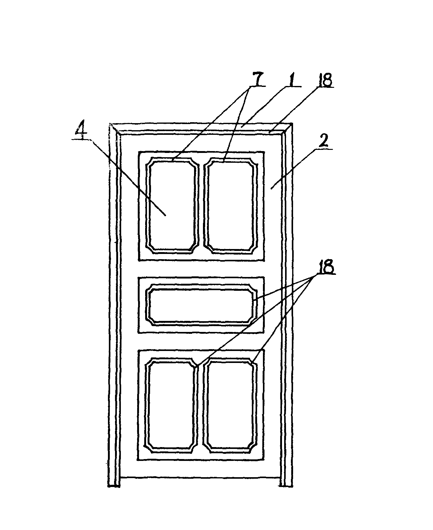
本实用新型涉及一种金属薄板门,包括门框,门扇和铰链,其特征在于门扇

图片尺寸 1408x1726
上传时间 2026-03-19 17:23:50

图片链接

缩略图
原图
外链

相关图片

门简笔画门怎么画

门简笔画门怎么画

门的简笔画

门的简笔画

大门简笔画大门简笔画怎么画

大门简笔画大门简笔画怎么画

亲子一起画门简笔画

亲子一起画门简笔画

春联简笔画图片大全

春联简笔画图片大全

门简笔画图片

门简笔画图片

中式门框简笔画

中式门框简笔画

门的简笔画怎么画门简笔画画法

门的简笔画怎么画门简笔画画法

门套口图片-门套口素材-门套口插画-摄图新视界

门套口图片-门套口素材-门套口插画-摄图新视界

门框(银盾580)

门框(银盾580)

随机推荐

任时完 #朴炯植 #炯完  有这么漂亮的老婆是件多么幸福的 - 抖音

任时完 #朴炯植 #炯完 有这么漂亮的老婆是件多么幸福的 - 抖音

nba湖人队科比帅气写真

nba湖人队科比帅气写真

快手最美风景头像桂林山水秀丽果然美百闻不如一见

快手最美风景头像桂林山水秀丽果然美百闻不如一见

陈怡蓉个人资料_陈怡蓉演过的电视剧_陈怡蓉电影全集-韩剧233网

陈怡蓉个人资料_陈怡蓉演过的电视剧_陈怡蓉电影全集-韩剧233网

蚌,珍珠图片

蚌,珍珠图片

12v转5v降压芯片12v转33v稳压芯片电路图

12v转5v降压芯片12v转33v稳压芯片电路图

香蜜沉沉烬如霜

香蜜沉沉烬如霜

笑脸可爱美甲

笑脸可爱美甲

锦州锦开高压开关jczr18组合电器

锦州锦开高压开关jczr18组合电器

我发了一张贼丑的照片给游戏对象

我发了一张贼丑的照片给游戏对象