简笔画大全奶茶3

图片尺寸 1080x1439
上传时间 2026-03-17 19:47:37

图片链接

缩略图
原图
外链

相关图片

甜甜的夏日来一本全糖奶茶吧~这么简单的简笔画 - 抖音

甜甜的夏日来一本全糖奶茶吧~这么简单的简笔画 - 抖音

可爱手账奶茶简笔画,你喜欢哪种奶茶

可爱手账奶茶简笔画,你喜欢哪种奶茶

96超可爱的手帐奶茶简笔画【手帐贴纸】 96芒果冰今天画了萌萌哒

96超可爱的手帐奶茶简笔画【手帐贴纸】 96芒果冰今天画了萌萌哒

简单的珍珠奶茶简笔画绘画教程

简单的珍珠奶茶简笔画绘画教程

简笔画分享63珍珠奶茶内附过程图

简笔画分享63珍珠奶茶内附过程图

简笔画教程哦——奶茶也可以画的很可爱

简笔画教程哦——奶茶也可以画的很可爱

小贝简笔画珍珠奶茶

小贝简笔画珍珠奶茶

可爱奶茶简笔画

可爱奶茶简笔画

简笔画奶茶图集

简笔画奶茶图集

(附教程) 04一组超可爱奶茶简笔画来喽~ 04小可爱们一起画起来吧

(附教程) 04一组超可爱奶茶简笔画来喽~ 04小可爱们一起画起来吧

随机推荐

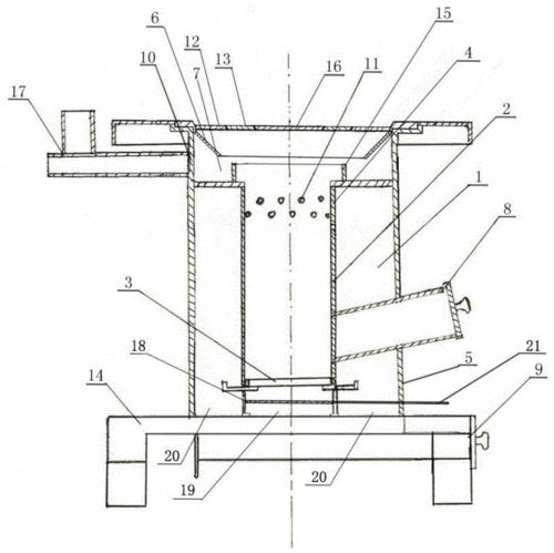
一种二次进风高效节能炉制造技术

一种二次进风高效节能炉制造技术

赛博朋克风格的插画作品欣赏,这颜色搭配太棒了

赛博朋克风格的插画作品欣赏,这颜色搭配太棒了

王姬: 我是一个演员,不会"作"也不太会作秀丨人物

王姬: 我是一个演员,不会"作"也不太会作秀丨人物

关晓彤近照红色衣服太漂亮了

关晓彤近照红色衣服太漂亮了

警惕!检察官为你揭开"善心汇"的伪善面孔

警惕!检察官为你揭开"善心汇"的伪善面孔

小刘佳

小刘佳

马廷强怎么瘸的为何马廷强貌丑无盐却艳福不浅

马廷强怎么瘸的为何马廷强貌丑无盐却艳福不浅

火影忍者性感美女手机壁纸24张_腾讯新闻

火影忍者性感美女手机壁纸24张_腾讯新闻

遵义香烟20元60元的烟都有哪些2024年

遵义香烟20元60元的烟都有哪些2024年

三相电线颜色代表什么线

三相电线颜色代表什么线