五年级语文第18课《威尼斯的小艇》 每晚七点直播四年级,八点五年级

图片尺寸 960x1280
上传时间 2026-03-17 21:20:56

图片链接

缩略图
原图
外链

相关图片

《威尼斯的小艇》课堂笔记

《威尼斯的小艇》课堂笔记

五年级下册——第18课《威尼斯的小艇》课堂笔记

五年级下册——第18课《威尼斯的小艇》课堂笔记

语文五下18课笔记-威尼斯的小艇 #语文笔记# #笔记# #语文# #课堂笔记

语文五下18课笔记-威尼斯的小艇 #语文笔记# #笔记# #语文# #课堂笔记

部编版五下 18课《威尼斯的小艇》教学笔记

部编版五下 18课《威尼斯的小艇》教学笔记

五年级下册——第18课《威尼斯的小艇》课堂笔记

五年级下册——第18课《威尼斯的小艇》课堂笔记

五下语文第18课《威尼斯的小艇》课堂笔记

五下语文第18课《威尼斯的小艇》课堂笔记

五下语文第18课《威尼斯的小艇》课堂笔记

五下语文第18课《威尼斯的小艇》课堂笔记

部编版五下 18课《威尼斯的小艇》教学笔记

部编版五下 18课《威尼斯的小艇》教学笔记

五下|五年级下册课文18《威尼斯的小艇》笔 五年级下册课文18《威尼斯

五下|五年级下册课文18《威尼斯的小艇》笔 五年级下册课文18《威尼斯

小学语文部编版五年级(下)课堂笔记第18课《威尼斯的小艇》

小学语文部编版五年级(下)课堂笔记第18课《威尼斯的小艇》

随机推荐

帅气艾辰情头cp漫画头像,情侣头像图片-回车桌面

帅气艾辰情头cp漫画头像,情侣头像图片-回车桌面

周华健与妻子形如"母子",这年头白头偕老也有罪了?-风君小屋帮我吧

周华健与妻子形如"母子",这年头白头偕老也有罪了?-风君小屋帮我吧

超兽武装你们把桥都打断了雪皇这一手修复太骚了

超兽武装你们把桥都打断了雪皇这一手修复太骚了

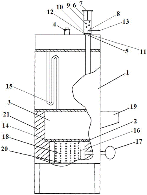
一种二次燃烧的节能锅炉的制作方法

一种二次燃烧的节能锅炉的制作方法

江疏影生活照

江疏影生活照

著名漫画家丰子恺艺术作品欣赏【8】

著名漫画家丰子恺艺术作品欣赏【8】

第三套人民币一角 老版钱币壹角流通旧币 1962年1角纸币真币收藏

第三套人民币一角 老版钱币壹角流通旧币 1962年1角纸币真币收藏

52岁朱茵现状:住深山残屋,开97年破车,活成娱乐圈李子柒

52岁朱茵现状:住深山残屋,开97年破车,活成娱乐圈李子柒

心如止水_1080x1920_高清视频素材下载(编号:6220799)_舞台背景_光厂

心如止水_1080x1920_高清视频素材下载(编号:6220799)_舞台背景_光厂

纯色绿色手机壁纸开启绿色屏幕

纯色绿色手机壁纸开启绿色屏幕